• 17510阅读
  • 40回复

[义乌故事]房子怎么了?政府房管部门不放签? [复制链接]

上一主题 下一主题
离线猪猪卡卡
 

发帖
413
奖学金
133
威望
982
微信分享到朋友圈 图酷模式 只看楼主 倒序阅读 腔主  发表于: 2022-03-24
马上注册,结交更多好友,享用更多功能,让你轻松玩转义乌十八腔,更多精彩评论请登录后查看。
  已有账号?点击登录
关闭
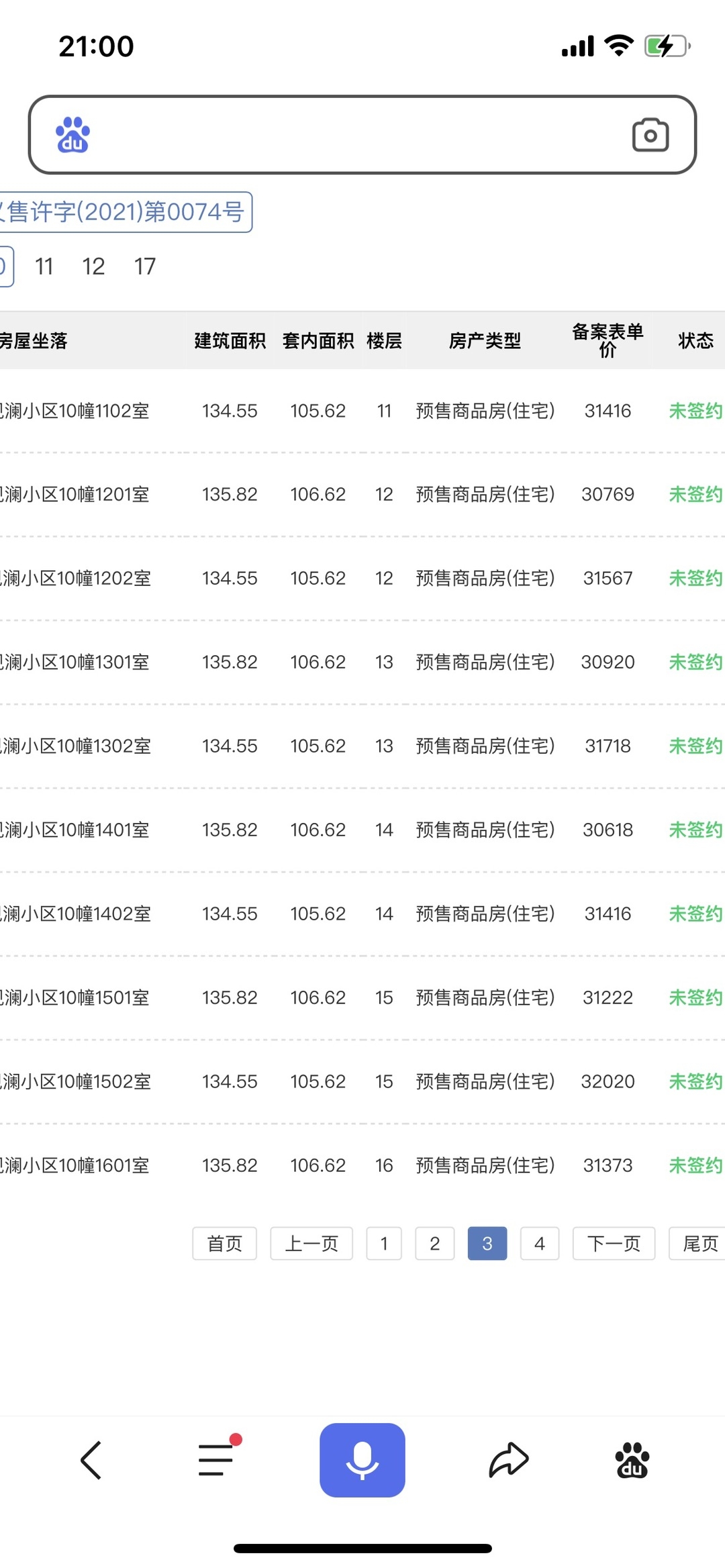
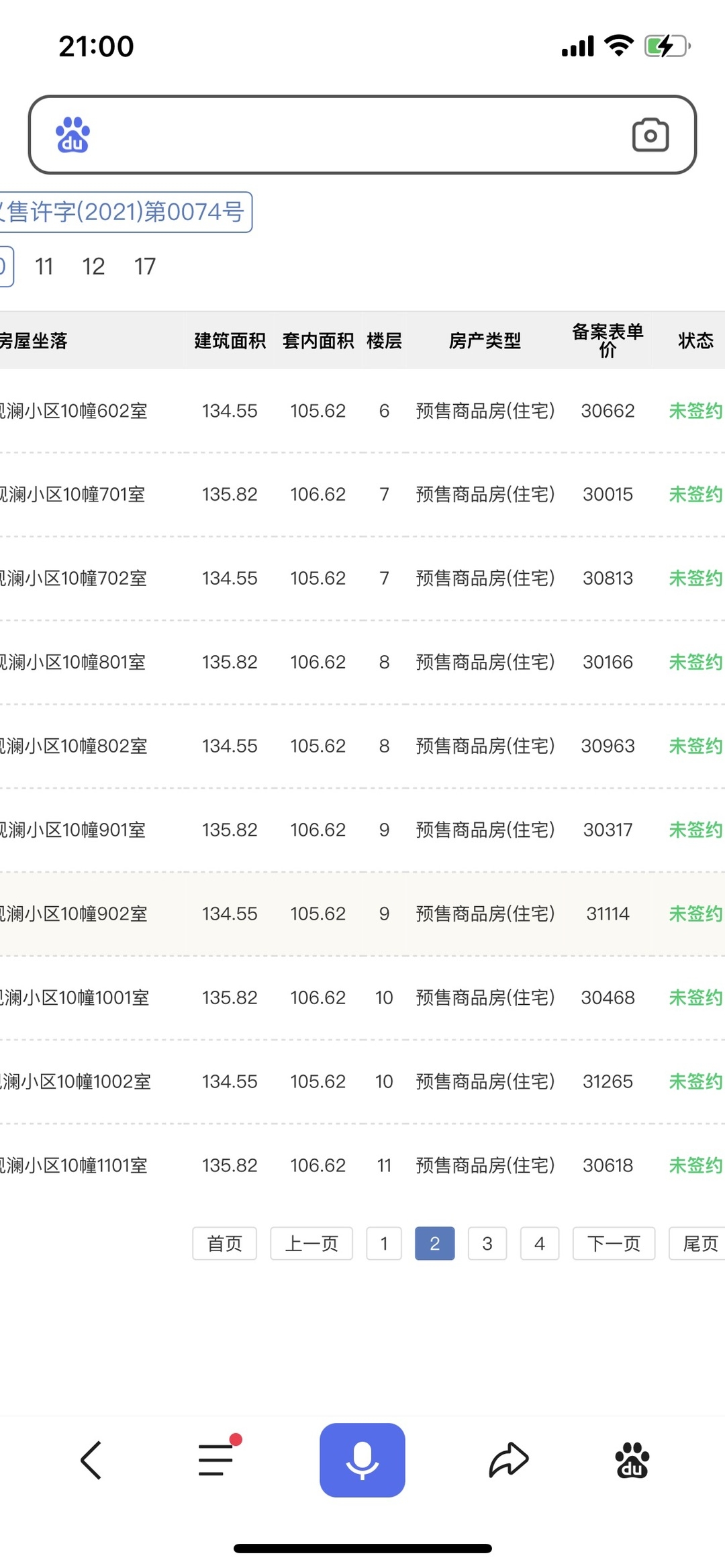
根据规定,签了购房合同30日内应该备案网签啊,现在碧桂园回复说是政府房管部门不放签,真的是这样吗?还是销售在骗我?
有没有知情的人讲下,不放签的原因是什么?长时间不网签是不是应该把钱退给我们,我们的钱都是要付利息的,不能网签就不应该这么早收钱啊!






34条评分威望+34
特别声明:帖子及回帖全部内容为论坛用户自行上传发布并承担相应的法律责任,不代表本网站观点和立场,本网站仅提供信息存储服务。任何用户如认为页面上的特定内容涉及侵权,可通过页面底部侵权投诉指引向我们进行投诉。
本帖共有40条回复,请登录后查看。
  已有账号?点击登录
快速回复
限100 字节
如果您在写长篇帖子又不马上发表,建议存为草稿