• 21837阅读
  • 58回复

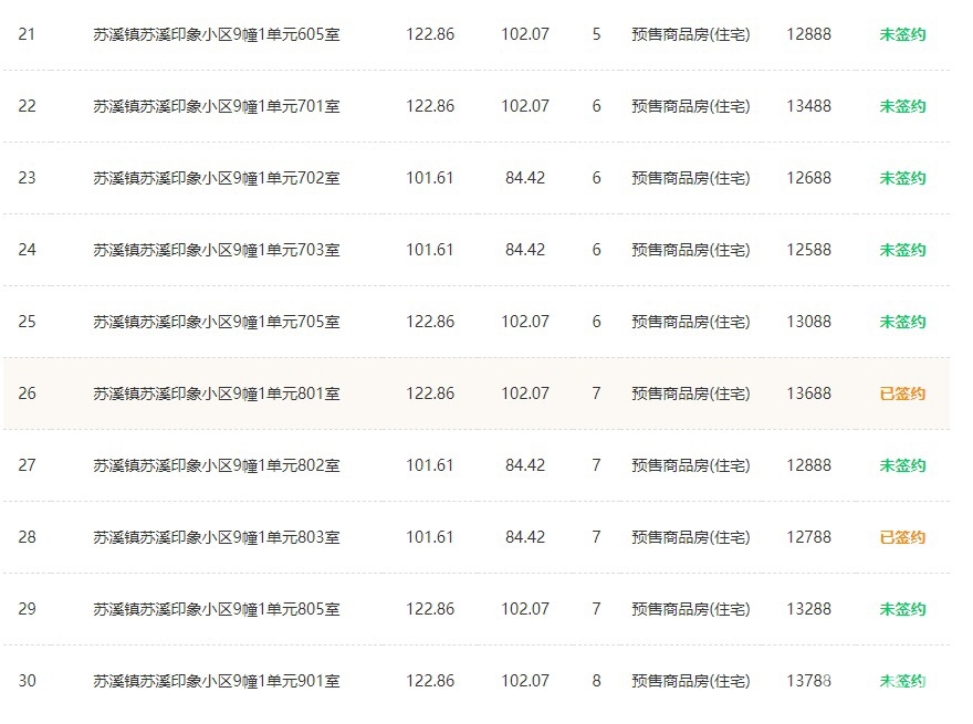
[随便说说]苏溪印象售楼处早已无房可售,而网上却是整栋整栋的未签约房子。 [复制链接]

上一主题 下一主题
 
发帖
37
奖学金
46
威望
208
微信分享到朋友圈 图酷模式 只看楼主 倒序阅读 腔主  发表于: 2021-02-22
马上注册,结交更多好友,享用更多功能,让你轻松玩转义乌十八腔,更多精彩评论请登录后查看。
  已有账号?点击登录
关闭
国家三令五申房住不炒,而商城集团的楼盘却可以如此明目张胆。不知道利益到了谁的口袋。苏溪本身就是房子少,作为本土企业的商城集团如此做法真的让人不齿。



50条评分威望+50
辉猫警长 威望 +1 - 2021-02-24
常相守 威望 +1 - 2021-02-23
louyiqiang20 威望 +1 - 2021-02-23
王子泽 威望 +1 - 2021-02-23
楷哥 威望 +1 - 2021-02-23
大男当婚111 威望 +1 - 2021-02-23
陌路红尘 威望 +1 - 2021-02-23
ywhlqq 威望 +1 - 2021-02-23
说好了不见面171 威望 +1 - 2021-02-23
程嘉豪丶 威望 +1 - 2021-02-23
特别声明:帖子及回帖全部内容为论坛用户自行上传发布并承担相应的法律责任,不代表本网站观点和立场,本网站仅提供信息存储服务。任何用户如认为页面上的特定内容涉及侵权,可通过页面底部侵权投诉指引向我们进行投诉。
本帖共有58条回复,请登录后查看。
  已有账号?点击登录
快速回复
限100 字节
如果您在写长篇帖子又不马上发表,建议存为草稿